| নং | শিরোনাম | সেবার ধাপ | কার্যকলাপ |
|---|---|---|---|
| | |||
| ১ | সভার কার্যবিবরনী | দেখুন | |
| ২ | সিটিজেন চার্টার | দেখুন | |
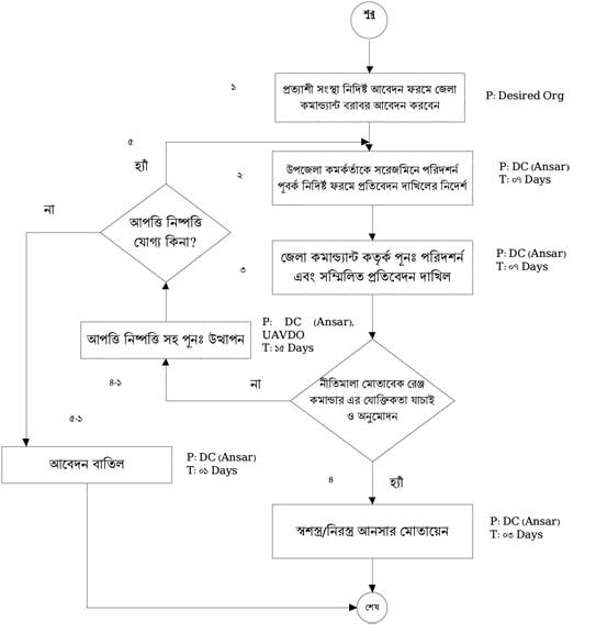
| ৩ | প্রত্যাশী সংস্থা নিদ্রিষ্ট আবেদন ফরমে নিদ্রিষ্ট জেলা কমান্ডেন্ট্য বরাবর আবেদন ধাপ | দেখুন | |
| ৪ | আদেশ পত্র প্রেরনের ধাপ | দেখুন | |
| ৫ | জেলা কমান্ট্যেন্ড প্যানেল প্রস্তুতের জন্য রেঞ্জ কমান্ড প্রস্তুতের ধাপ | দেখুন | |
| ৬ | বার্ষিক প্রশিক্ষনের নিদের্শন ধাপ ৩ | দেখুন | |
| ৭ | উপজেলা অফিসের বার্ষিক প্রশিক্ষন নিদের্শনার প্রাপ্তি নিশ্চত করার ধাপ | দেখুন | |
| ৮ | বছর শুরুতে সদর দপ্তর হতে বার্ষিক প্রশিক্ষন নির্দেশনা | দেখুন |